基本参数
- 产地江苏
- 品牌
- 产品型号
- 产品操作
- 产品应用范围
- 产品材料等级
- 产品表面处理
产品简介:
产品详情:动态分离器技术简介
随着电力工业的飞速发展,世上各国对发电站的环保要求更为高,许多单位都使用低NOx排放技术,以减小NOx和@nz的排放量。在不增加运营成本的情形下,作为锅炉系统的关键辅助机械的磨煤机也使用了nz@技术展开了相应的技术改进。
HP磨煤机赞成的动态分离器装置主要包括以下部分:
1.轴承和驱动器
2.变频电机和减速器
3.v带
4.变频器
5.转子设备
HP上重磨煤机专用磨煤机动态分离器轴承TIMKEN进口轴承现货S-5229-A/S-5230-A/S-5231-A,适用范围:HP823-HP1203
分离器structure
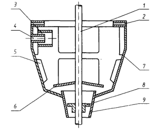
动态分离器的构造如下图所示,它由轴1,提升器9,分离器体7,轻,重液体通道和出口组成。提升器分离器体等安装在轴上并旋转时,乳浊液经稳流环 8和立管下口之间的空隙进入立管,然后向上进入分离器。稳流环用以操纵立管的进液量HP883,以缩减由于搅拌引起的液面大幅波动引起的进入分离器的液体波动,利于分离过程的实现。分离器装设有同步板5,因此液体在由增速板6加快后进入分离器主体,并与分离器同步旋转。轻,重液体在离心力的作用下快速沉降并在分离器中分离。轻液体不经通道直接从出口2排出。重液体通过重液体通道3(参数@nz)从重液体出口4排出。从分离器排出的液体分别进入每个区域的收集罐。
无锡科瑞棋欢迎咨询,HP883import,如果您有兴趣,请关系图片上显示的电话号码。
供应TIMKEN原装进口动态分离器轴承现货S-5230-A,无锡科瑞棋传动机械有限公司专业销售代理,欢迎来电咨询。
(1)分隔符的启动:
敞开排放阀。
确定密封风扇的运行。
如果已引入密封空气,则可以在磨煤机之前或之后启动动态分离器。
(2)分隔器的关闭:
停止供煤器HP883spot,让磨煤机降温。
磨煤机和动态分离器stop。
(3)分离器报警及停机:
如果并未主气流,则发出警报,并且分离马达停止;
如果并未密封风,则发出警报,并且分离电机停止;
如果磨煤机电机停止,则发出警报,分离器电机停止
如果轴承温度超过225°h(107°c)超过两秒钟,则会发出警报,并且分离器电机停止。
无锡科瑞棋传动提供的HP883parameter,无锡科瑞棋传动机械有限公司,HP883parameters,HP883驱动器,无锡科瑞棋是无锡科瑞棋传动机械有限公司()的最新升级版。以上图片仅供参考。请致电此页面上的联系电话机或图片以得到联系人:沈海strong。





